

Stützklappgriff Plan Care
Stützklappgriff Plan Care 700mm verchr. m.Papierhalt.Auflagefl.schwarzgrau Keuco
KBN PLANCSKG70PGR
Multifunktionale Bereicherung
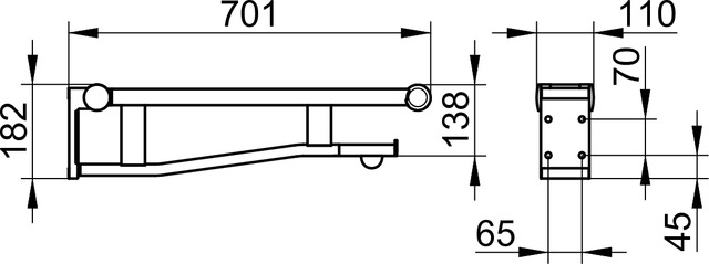
Dieser kluge Helfer aus der Keuco Serie Plan Care ist ein wahres Multitalent, wenn es darum geht, barrierefreie Bäder mit intelligenten Funktionen auszustatten. So dient der Stützgriff in erster Linie als perfekte Haltefunktion – seitlich zur Wandmontage neben dem WC positioniert. Die praktische Klappfunktion lässt den Griff bei Bedarf an die Wand verschwinden. Aufgeklappt unterstützt er zuverlässig im Badalltag und bietet optimalen Halt. Doch damit nicht genug: Die ebenfalls integrierte Papierrollen-Halterung macht einen separaten Papierhalter überflüssig und bietet so gleich zwei nützliche Accessoires in einem. Auch optisch weiß der Stützklappgriff zu überzeugen: Stilvoll in eleganter Chrom-Optik designt, setzt das Keuco Accessoire Plan Care gekonnte Akzente in der gehobenen Badgestaltung.
Produktserie Plan

- Ausschreibungstexte
- Dokumente
- Technische Spezifikation
- Bitte warten...
- Bitte warten...
- Produktvarianten
Ausschreibungstexte
mit Toilettenpapierhalter
700 mm
verchromt/schwarz
Dokumente
Technische Spezifikation
- Tiefe (cm)
- 70
- Gewicht (kg)
- 4.43
- Montageart
- Wandmontage
- Belastbarkeit (kg)
- 115
- Farbe
- schwarzgrau
- Farbgruppe (Hauptfarbe)
- grau
- Oberfläche
- kunststoffummantelt
- Werkstoff
- Metall
- Bauform
- gerade
- Zertifikat/Zulassung
- TÜV geprüft
- Barrierefrei
- ja
- Produkttyp/Modellnummer
- 34903010737