Duschhandlauf gerade Plan Care
Duschhandlauf Plan verchromt m.Brausestange 118cm Keuco
KBN PLANDHL118
Hilft und unterstützt zuverlässig
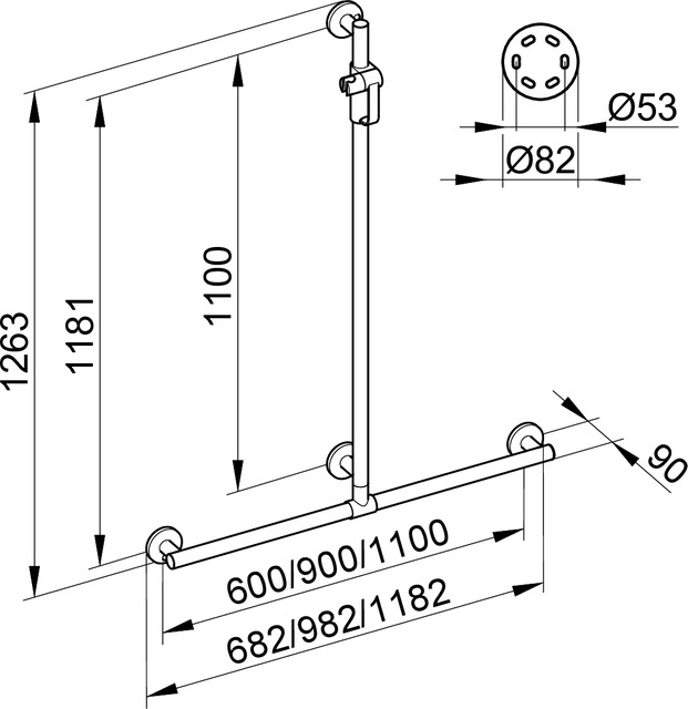
Der Duschhandlauf mit Brausestange stammt aus der Keuco Linie Plan Care und stellt die ideale Bereicherung für barrierefreie Badeinrichtungen dar. Vor allem in der Dusche verspricht das Accessoire Selbstständigkeit und Sicherheit – für grenzenlosen Duschkomfort. Der Handlauf ist stabil im ergonomisch geformten Design gestaltet und lässt sich damit optimal greifen. Herausstechendes Extra: Der Duschhandlauf kommt hier mit passender Brausestange inklusive Brauseschieber. Dabei ist die Stange vor der Montage frei positionierbar und passt sich Ihren persönlichen Bedürfnissen so perfekt an.
Produktserie Plan
Designstark in progressiver Umsetzung: Die Accessoires aus der Designlinie Plan von Keuco perfektionieren den Komfort im Bad und begeistern mit überzeugenden Funktionen.
- Ausschreibungstexte
- Dokumente
- Technische Spezifikation
- Bitte warten...
- Bitte warten...
- Produktvarianten
Ausschreibungstexte
Duschhandlauf
mit Brausestange
1182/1263 mm
verchromt
mit Brausestange
1182/1263 mm
verchromt
Dokumente
Datenblatt
Vermaßte Strichzeichnung
Technische Spezifikation
- Breite (cm)
- 118.2
- Durchmesser (cm)
- 3.3
- Ausladung (cm)
- 9
- Montageart
- Wandmontage
- Farbe
- chrom
- Oberfläche
- verchromt
- Werkstoff
- Metall / Kunststoff
- Barrierefrei
- ja
- Produkttyp/Modellnummer
- 34914
Bitte warten...
Bitte warten...
Bitte warten...